Wähle ein Motorrad
Oder▼
Hersteller
Modell
Zylinderkapazität
AF Nummer
Bauart
Preiseinheit: 1 STCK
Originalbezeichnung: SCHALT BREMSL
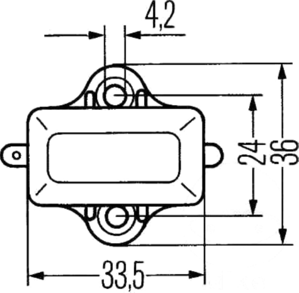
Product: Brake light switch 6DF001551091
Hella Bremslicht-Druckschalter, universal
In Ruhestellung eingeschaltet
Gehäuse aus Pressstoff
Mit Gummi-Schutzkappe
Für Anbau oder Einbau
manuell
Montageart: Schraubanschluss
Anschlussanzahl: 2
Belastbarkeit bei 12 V: 7 A
Hersteller Nr.: Hella 6DF 001 551-091
EAN: 4082300189797

